本报讯 4月22日,中国科大国家示范性微电子学院程林教授联合香港科技大学暨永雄教授课题组在无线充电芯片设计领域取得重要成果。研究者提出了一种用于谐振无线功率传输的新型无线充电芯片架构。所提出的架构通过在单个功率级中实现整流、稳压和恒流-恒压充电而实现了高效率和低成本,为今后无线充电芯片的设计提供一个高效的解决方案。该研究成果发表于集成电路设计领域著名期刊《IEEE Journal of Solid-State Circuits》上。

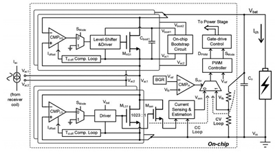
论文中提出的无线充电芯片架构图

无线充电芯片照片
无线充电作为未来充电技术的发展方向,在消费电子、生物医疗电子、物联网以及电动汽车等方面具有广阔的应用前景,近年来得到了学术界和工业界的高度关注。与传统有线充电具有稳定的直流电压相比,无线充电首先需要对交流输出电压进行整流和稳压。由于经过多级功率处理,充电效率大大降低,并且严重限制了充电功率。针对无线充电芯片设计领域提高转换效率和降低成本的研究热点,该研究基于3-Mode可重构谐振调节整流器的原理,通过在单个功率级中实现整流、稳压和恒流-恒压充电功能,克服了现有芯片设计中需要两级或三级级联的缺点,从而大大提高了芯片转化效率和集成度。此外,该研究中还提出了一种片上栅压自举技术,采用了一种自适应相位数控制的单输入双输出倍压器,将自举电容集成在芯片上,进一步提高了芯片的集成度。最终测试结果表明该无线充电芯片在充电电流为1A和1.5A时,峰值效率分别可以达到92.3%和91.4%,验证了所提技术的有效性。
该论文第一单位为中国科大,程林教授为第一作者和通讯作者,这是中国科大首次以第一作者单位在JSSC上发表论文。JSSC作为微电子学与集成电路设计领域的著名期刊,投稿要求必须有实际流片并且测试指标世界领先的芯片设计成果。
(微电子学院 科研部)